Použitie klapky:
- používa ako samočinný koncový spätný uzáver,
- chráni potrubie proti vnikaniu rôznych nečistôt,
- chráni pred zaplavením potrubia pri stúpaní hladiny vyústenia,
- médiom môžu byť neagresívne odpadové vody,
- používa sa pre tlak max. 0,2 MPa a teplotu max. 65°C,
- klapka nie je uzatváracou armatúrou.
Pripojenie klapky:
- rozmery prírub a úpravy tesniacich plôch sú podľa STN 13 1060 a 13 1061,
Materiál klapky:
- teleso, závažie a tanier sú zo sivej liatiny,
- tesnenie je gumové.
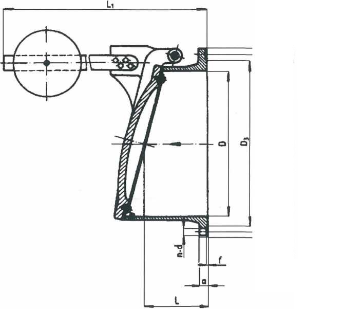
Technický popis klapky
- tanier klapky je otočný okolo čapu
- je vybavený pákou s posuvným závažím, pre nastavenie otváracieho pretlak,
- otvára samočinne tlakom odpadovej vody a tesní vlastnou hmotnosťou.

Rozmery klapky
| DN | D | L | L1 | D1 | D2 | DЗ | f | а | d | n | kg |
|---|---|---|---|---|---|---|---|---|---|---|---|
| 300 | 300 | 200 | 650 | 440 | 440 | 370 | 4 | 24 | 23 | 12 | 73 |
| (350) | 350 | 220 | 760 | 500 | 460 | 430 | 4 | 26 | 23 | 16 | 98 |
| 400 | 400 | 230 | 850 | 565 | 515 | 482 | 4 | 28 | 27 | 16 | 130 |
| 500 | 500 | 240 | 1160 | 670 | 620 | 585 | 4 | 28 | 27 | 20 | 195 |
| 600 | 600 | 260 | 1280 | 780 | 725 | 685 | 5 | 30 | 30 | 20 | 255 |
| (700) | 700 | 380 | 1300 | 895 | 840 | 800 | 5 | 32 | 30 | 24 | 390 |
| 800 | 800 | 400 | 1350 | 1010 | 950 | 905 | 5 | 34 | 33 | 24 | 555 |
| 1000 | 1000 | 450 | 1900 | 1220 | 1160 | 1110 | 5 | 36 | 33 | 28 | 720 |
| 1200 | 1200 | 550 | 2150 | 1455 | 1380 | 1325 | 5 | 40 | 40 | 32 | 970 |

