Použitie klapky:
- používa ako samočinný koncový spätný uzáver,
- chráni potrubie proti vnikaniu rôznych nečistôt,
- chráni potrubie pred zaplavením pri stúpaní hladiny vyústenia,
- médiom môžu byť neagresívne odpadové vody,
- pracovný tlak média je max. 0,1 MPa a teplota max 40°C,
- klapka nie je uzatváracou armatúrou.
Pripojenie klapky:
- hrdlové, rozmery hrdla sú podľa STN 13 2110.
- norma nestanovuje rozmery pre DN 250 a DN 300.
Materiál klapky:
- teleso a tanier – sivá liatina,
- čapy klapky sú z uhlíkovej ocele.
Technický popis klapky
- montuje sa len do vodorovného,
- montáž je možná aj do mierne nakloneného odpadového potrubia čapom hore,
- tanier klapky je otočný okolo čapu a tesní vlastnou hmotnosťou.

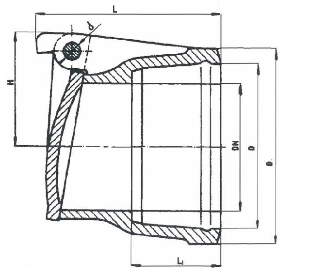
Rozmery klapky
| DN | D | D1 | L | L1 | H | d | kg |
|---|---|---|---|---|---|---|---|
| 100 | 127 | 148 | 123 | 65 | 86 | 8 | 4 |
| 150 | 182 | 205 | 127 | 70 | 112 | 8 | 9.5 |
| 200 | 235 | 258 | 146 | 70 | 148 | 10 | 11.5 |
| 250 | 290 | 315 | 154 | 75 | 175 | 10 | 16 |
| 300 | 340 | 370 | 160 | 80 | 207 | 10 | 25 |

